Dugogodišnji san Appleovih dizajnera, na čelu sa Džonijem Iveom, bio je konstruisanje mobilnog telefona koji bi izgledao kao jednostavan komad stakla.

Na takvom uređaju ne bi bilo fizičkih tastera, otvora, prelaza između različitih materijala i sličnih „smetnji“ elegantnom spoljašnjem izgledu.
Međutim, da bi se taj san ostvario bilo je potrebno da se staklo učini dovoljno dobrim strukturnim materijalom od koga može da se napravi celo kućište telefona. Upravo to je ono što Apple pokušava da zaštiti najnovijom prijavom patenta.
Američki Patentni zavod objavio je patent, koji je kompanija Apple predala u septembru prošle godine, a koji se odnosi na „elektronske uređaje sa staklenim strukturnim elementima“. Slike i tekst patentne prijave upravo opisuju stakleni pametni telefon.
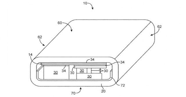
Njegovo kućište bi bilo izrađeno od savijenog stakla, unutar koga je smešten savitljivi ekran, dok su i svi ostali elektronski delovi na nekoliko predloženih načina pričvršćeni unutar kućišta.

Osim samog koncepta kućišta, Apple je prikazao i nekoliko načina njegovog povezivanja sa drugim komponentama, pa bi tako, kod ovakvog uređaja staklo preuzelo ulogu strukturnog elementa i potpuno zamenilo metalne legure koje se sada koriste kao osnova kućišta.
Naravno, činjenica da Apple ima patent za novu tehnologiju ne znači da će je nužno primeniti na svoje uređaje.
Ipak, zanimljivo je videti u kom smeru Appleovi inženjeri razmišljaju i kako bi eventualni dizajn budućeg iPhonea mogao da izgleda.
Izvor: b92.net



